34R96/15k – OLG Wien Entscheidung
Kopf
Das Oberlandesgericht Wien hat als Berufungsgericht ***** wegen Nichtigkeit des Patents AT 509017 über die Berufung der Antragsgegnerin gegen den Beschluss der Nichtigkeitsabteilung des Patentamts vom 10.2.2015, N 9/2012 18, in nicht öffentlicher Sitzung zu Recht erkannt:
Spruch
Der Berufung wird nicht Folge gegeben.
Die Antragsgegnerin ist schuldig, der Antragstellerin binnen 14 Tagen die Kosten des Berufungsverfahrens von EUR 1.633,14 (darin EUR 272,19 USt) zu ersetzen.
Der Wert des Entscheidungsgegenstands übersteigt EUR 30.000,--. Die Revision ist nicht zulässig.
Text
Entscheidungsgründe
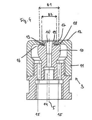
1. Das angegriffene Patent AT 509017 ( Brennerdüse ; in der Folge: „Patent“) hat folgende – in Merkmale untergliederte – Ansprüche:
«1. [a] Brennerdüse mit einem ersten zentralen Kanal (14) für brennbares Fluid, mit einer zentralen Austrittsöffnung (14’) für das brennbare Fluid,
[b] mit einem zweiten, ringförmig um den ersten, zentralen Kanal (14) angeordneten Kanal (15) für ein Zerstäubermedium und mit einer ringförmig um die erste, zentrale Austrittsöffnung (14’) angeordneten Austrittsöffnung (17) für das Zerstäubermedium,
[c] in deren Bereich ein Hartmann’scher Generator angeordnet ist,
[d] wobei der Außendurchmesser (D2) des Tellers (19) des Hartmann’schen Generators so bemessen ist, dass die Austrittsgeschwindigkeit des Zerstäubermediums aus der Düse (3) so groß ist, dass die maximale Einsatztemperatur des Werkstoffs der Düse und/oder des Hartmann’schen Generators im Bereich des Gehäuses (11) der Düse (3) nicht überschritten wird,
dadurch gekennzeichnet, dass
[e] als Zerstäubermedium reiner Sauerstoff verwendet wird und dass
[f] der Quotient aus Außendurchmesser (D2) des Tellers (19) des Hartmann’schen Generators und Innendurchmesser (D1) einer Kappe (18) des Gehäuses (11) der Düse (3) kleiner als 0,83 ist.
2. Brennerdüse nach Anspruch 1, dadurch gekennzeichnet, dass der Quotient aus Außendurchmesser (D2) des Tellers (19) des Hartmann’schen Generators und Innendurchmesser (D1) der Kappe (18) des Gehäuses (11) der Düse (3) zwischen 0,75 und 0,80 liegt.
3. Brennvorrichtung mit einer Lanze (1) und einer Brennerdüse (3), dadurch gekennzeichnet, dass an der Lanze (1) eine Brennerdüse nach Anspruch 1 oder 2 angeordnet ist.»
Die dazu gehörende Skizze bietet folgendes Bild:

2. Die Antragstellerin beantragte die Nichtigerklärung des Patents nach § 48 PatG und brachte – kurz zusammengefasst (§ 500a ZPO) – vor: Aufgabe des Patents sei es, eine Brennerdüse zur Verfügung zu stellen, die das Problem vermeide, dass bei den vorbekannten Brennerdüsen meist Pressluft oder Dampf als Zerstäubermedium verwendet werde, weshalb nur eine bestimmte Flammentemperatur erreicht werden könne. Deshalb sehe das Patent reinen Sauerstoff als Zerstäubermedium vor, der zwar höhere Flammentemperaturen erzeuge, bei dessen Verwendung die Flamme aber so nahe an die Brennerdüse komme, dass die Düse auch beschädigt werde, wenn sie feuerfest sei.
Diese Probleme wolle das Patent dadurch lösen, dass der Quotient aus Außendurchmesser (D2) des Tellers des Hartmann’schen Generators und Innendurchmesser (D1) einer Kappe des Gehäuses der Düse kleiner als 0,83 sei.
Dem Patent lasse sich nicht entnehmen, weshalb die Wahl eines solchen Quotienten die genannte Aufgabe löse. Die Erklärung in [0012] des Patents beziehe sich nicht auf diesen Quotienten, sondern auf die Verringerung des Außendurchmessers D2 bei gleichbleibender Austrittsöffnung. Die Verringerung des Austrittsquerschnitts erhöhe bei gleichbleibendem Volumenstrom klarerweise die Austrittsgeschwindigkeit; es bestehe aber kein Zusammenhang zum Quotienten D2/D1.
Merkmal [d] sei unklar und diene nicht als unterscheidendes Merkmal, weil beim Versuch, die Austrittsgeschwindigkeit des Zerstäubermediums zu definieren, weder der Volumenstrom noch der Austrittsquerschnitt berücksichtigt würden. Merkmal [d] nenne eine maximale Einsatztemperatur, ohne die Art des Werkstoffs und ohne die Einsatztemperatur anzugeben. Der Fachmann wäre genötigt, die erforderlich Austrittsgeschwindigkeit experimentell zu ermitteln; das Patent sei nicht ausführbar .
Das Patent beschränke sich in [0011] dazu auf die Angabe, dass die maximale Einsatztemperatur bei 600 °C „oder“ bei 1500 °C liege. Der große Unterschied zwischen diesen Werten bedinge auch große Unterschiede der Austrittsgeschwindigkeiten und der Außendurchmesser, sodass sich das Patent vom Stand der Technik nicht unterscheide.
Merkmal [e] (Verwendung von reinem Sauerstoff als Zerstäubermedium) sei als Merkmal von Anspruch 1 irrelevant, weil es sich nicht auf strukturelle Eigenschaften der Brennerdüse beziehe.
Die Antragstellerin trug auch vor, das Patent überschreite die ursprüngliche Offenbarung , Anspruch 2 sehe vor, das der Quotient D2/D1 zwischen 0,75 und 0,8 liege, was den ursprünglichen Anmeldungsunterlagen nicht zu entnehmen sei. Dort sei nur angeführt, dass der Quotient kleiner als 0,8, insbesondere kleiner als 0,75 sein könne. Ein Bereich von 0,75 bis 0,8 sei jedoch etwas anderes.
Das Patent sei nicht neu gegenüber der offenkundigen Vorbenutzung und es fehle auch der erfinderische Schritt, wofür die Antragstellerin die Brennerdüse „KS 250 J“ der Fa. Dumeco nannte (Beilage./N1, „Dumeco-Düse“). Unter anderem betrage der erwähnte Quotient dort 0,79, sei also auch „kleiner als 0,83“.
3.1 Die Antragsgegnerin wandte ein, die Aufgabe des Patents bestehe darin, eine Brennerdüse zu Verfügung zu stellen, die bei Zerstäubung mit reinem Sauerstoff den dabei auftretenden hohen Temperaturen standhalte. Die technischen Merkmale stellten dieses Erfordernis sicher; das Patent müsse keine theoretische Erklärungen dafür enthalten.
Da der Quotient D2/D1 Aussagen über die Austrittsfläche zulasse, die wiederum die Austrittsgeschwindigkeit beeinflusse, liege der von der Antragstellerin vermisste Zusammenhang zwischen dem Quotienten D2/D1 und der Austrittsgeschwindigkeit vor.
Der Quotient D2/D1 beeinflusse auch das Strömungsbild des Zerstäubermediums. Sei der Quotient kleiner als 0,83, ströme das Zerstäubermedium im Wesentlichen geradlinig („jetförmig“) von der Brennerdüse weg; sei er größer, streue das Zerstäubermedium unkontrolliert zur Seite („parabolisch“) und die Brennerdüse würde schnell verbrennen, weil sich das Zerstäubermedium zu nahe bei der Brennerdüse entzünde. Das Patent weise den Fachmann an, bei einer Verkleinerung von D2 auch D1 entsprechend anzupassen, um den Quotienten D2/D1 in einem bestimmten Bereich von kleiner als 0,83 zu halten.
Der Fachmann kenne die verwendeten Materialien und die von diesen tolerierten maximalen Einsatztemperaturen; er könne daher auch ermitteln, bei welcher Austrittsgeschwindigkeit des Zerstäubermediums die maximale Einsatztemperatur nicht überschritten werde.
Die Werte „0 bis 0,75“ sowie „0 bis 0,8“ umfassten jedenfalls auch den Bereich „0,75 bis 0,8“.
Zur Neuheit bestritt die Antragsgegnerin, dass die Entgegenhaltungen der Antragstellerin geeignet seien, eine offenkundige Vorbenutzung zu substantiieren.
3.2 Die Antragsgegnerin legte dem Patentamt folgende zwei Hilfsanträge vor:
« Hilfsantrag 1
1. Verwendung einer Brennerdüse
- mit einem ersten zentralen Kanal (14) für brennbares Fluid,
- mit einer zentralen Austrittsöffnung (14’) für das brennbare Fluid,
- mit einem zweiten, ringförmig um den ersten, zentralen Kanal (14) angeordneten Kanal (15) für ein Zerstäubermedium
- und mit einer ringförmig um die erste, zentrale Austrittsöffnung (14’) angeordneten Austrittsöffnung (17) für das Zerstäubermedium, in deren Bereich ein Hartmann’scher Generator angeordnet ist,
- wobei der Außendurchmesser (D2) des Tellers (19) des Hartmann’schen Generators so bemessen ist, dass die Austrittsgeschwindigkeit des Zerstäubermediums aus der Düse (3) so groß ist, dass die maximale Einsatztemperatur des Werkstoffs der Düse und/oder des Hartmann’schen Generators im Bereich des Gehäuses (11) der Düse (3) nicht überschritten wird,
- und wobei der Quotient aus Außendurchmesser (D2) des Tellers (19) des Hartmann’schen Generators und Innendurchmesser (D1) einer Kappe (18) des Geäuses (11) der Düse (3) kleiner als 0,83 ist,
zum Zerstäuben von reinem Sauerstoff als Zerstäubermedium.
2. Verwendung einer Brennerdüse (3) nach Anspruch 1 für eine Brennvorrichtung mit einer Lanze (1), wobei die Brennerdüse (3) an der Lanze (1) angeordnet ist.»
« Hilfsantrag 2
Verwendung einer Brennerdüse für eine Brennvorrichtung mit einer Lanze (1), wobei die Brennerdüse (3) an der Lanze (1) angeordnet ist und einen ersten zentralen Kanal (14) für brennbares Fluid, eine zentrale Austrittsöffnung (14’) für das brennbare Fluid, einen zweiten, ringförmig um den ersten, zentralen Kanal (14) angeordneten Kanal (15) für ein Zerstäubermedium und eine ringförmig um die erste, zentrale Austrittsöffnung (14’) angeordnete Austrittsöffnung (17) für das Zerstäubermedium, in deren Bereich ein Hartmann’scher Generator angeordnet ist, aufweist, wobei der Außendurchmesser (D2) des Tellers (19) des Hartmann’schen Generators so bemessen ist, dass die Austrittsgeschwindigkeit des Zerstäubermediums aus der Düse (3) so groß ist, dass die maximale Einsatztemperatur des Werkstoffs der Düse und/oder des Hartmann’schen Generators im Bereich des Gehäuses (11) der Düse (3) nicht überschritten wird, dadurch gekennzeichnet, dass als Zerstäubermedium reiner Sauerstoff verwendet wird und dass der Quotient aus Außendurchmesser (D2) des Tellers (19) des Hartmann’schen Generators und Innendurchmesser (D1) einer Kappe (18) des Geäuses (11) der Düse (3) kleiner als 0,83 ist.»
4. Das Patentamt erklärte das Patent für nichtig und ging vom Fehlen der Neuheit gegenüber der Brennerdüse „KS 250 J“ der Fa. Dumeco aus. Hingegen erachtete das Patentamt folgende Nichtigkeitsgründe nicht als gegeben: Die Erfindung sei nicht ausreichend offenbart, als dass sie ein Fachmann ausführen könne; der Gegenstand des Patents gehe über den Inhalt der ursprünglichen (den Anmeldetag begründenden) Fassung hinaus.
Zur Zulässigkeit der Hilfsanträge äußerte sich das Patentamt skeptisch, ließ diese Frage aber offen, weil den Gegenständen der Hilfsanträge die erfinderische Tätigkeit fehle.
5. Dagegen richtet sich die Berufung der Antragsgegnerin, in der sie vorträgt, die Hilfsanträge seien zulässig, und die sich gegen die Einschätzung der Nichtigkeitsabteilung richtet, aus ihnen sei keine erfinderische Tätigkeit abzuleiten.
Die Antragstellerin beantragt, der Berufung nicht stattzugeben.
Rechtliche Beurteilung
Die Berufung ist nicht berechtigt.
6. Wie die Antragstellerin in der Berufungsbeantwortung richtig erkennt, wendet sich die Antragsgegnerin nicht gegen die Einschätzung des Patentamts, das Patent sei in seiner eingetragenen Form nichtig.
Vielmehr argumentiert die Antragsgegnerin auch im Berufungsverfahren auf der Grundlage der Hilfsanträge. Das Berufungsgericht hält es daher für erforderlich, die Zulässigkeit dieser Hilfsanträge zu beurteilen. Dazu hat der Senat erwogen:
6.1 Die Antragsgegnerin sieht in der Umstellung auf die Hilfsanträge einen Teilverzicht nach § 46 Abs 2 iVm § 48 Abs 2 PatG und versucht, damit einen Teil des Patents zu erhalten.
Die Änderung eines Patents ist in § 91 Abs 3 PatG normiert und ist in der Regel nur bis zur Fassung des Erteilungsbeschlusses und ohne Abänderung des „Wesens der Erfindung“ zulässig.
Auf der – hier nicht unmittelbar gegebenen – Ebene des Gemeinschaftsrechts wäre zu prüfen, ob dadurch der Schutzbereich des Patents erweitert würde (Art 123 Abs 3 EPÜ); in diesem Fall wäre die Änderung unzulässig.
Die Wendung „nicht erweitert“ beschränkt zulässige Änderungen darauf, dass damit ein Minus an Schutz beansprucht wird; sowohl ein Plus als auch ein Aliud würden dieser Eigenschaft nicht gerecht. Auch eine Verringerung des Schutzumfangs wäre dann unzulässig, wenn der verkleinerte Schutzbereich (oder ein Teil davon) außerhalb des ursprünglichen Schutzbereichs läge; auch in diesem Fall wäre von einem Aliud zu sprechen (und nicht von einem Minus ).
6.2 Das eingetragene Patent ist ein Vorrichtungspatent: „Brennerdüse [...], dadurch gekennzeichnet, dass als Zerstäubermedium reiner Sauerstoff verwendet wird.“
Die Hilfsanträge beschreiben Verfahrenspatente:
„Verwendung einer Brennerdüse [...] zum Zerstäuben von reinem Sauerstoff als Zerstäubermedium.“
6.3 Seit der Entscheidung G 2/88 der Großen Beschwerdekammer des EPA steht ein Kategoriewechsel von einem Stoffanspruch auf eine „Verwendung dieses Stoffs in einem Stoffgemisch“ per se einer Einschränkung eines Patents nicht entgegen. Auch der OPM hat in Op 1/13, Diphosphonsäure-Verbindungen, – in der ebenfalls Stoffansprüche in Verwendungsansprüche geändert wurden – klargestellt, dass allfällige Änderungen jedenfalls nur dann zulässig sind, wenn (a) der Schutzbereich tatsächlich verkleinert und (b) die ursprüngliche Offenbarung nicht überschritten wird. Dies entspricht mittlerweile der Lehre und der Rechtsprechung (RIS Justiz RS0124037).
6.4 Auch die Entscheidung 17 Ob 26/08k, Pantoprazol, ist für den vorliegenden Fall nicht einschlägig, weil dort zu beurteilen war, ob ein „Verfahren zur Herstellung von Arzneimitteln, dadurch gekennzeichnet, dass man eine Verbindung einer allgemeinen Formel I [...] oder ein pharmakologisch verträgliches Salz davon mit einem pharmazeutischen Hilfs- oder Trägerstoff vermischt.“ zulässiger Weise dahin umformuliert werden kann:
„Verfahren zur Herstellung von Arzneimitteln, gekennzeichnet durch die Verwendung einer Verbindung der allgemeinen Formel I [...] oder eines pharmakologisch verträglichen Salzes davon und Mischen mit einem pharmazeutischen Hilfs- und/oder Trägerstoff zur Herstellung eines Arzneimittels zur Behandlung und/oder Prophylaxe von Krankheiten des Magens und Darms und solcher Krankheiten, die auf einer überhöhten Magensäuresekretion beruhen.“ Beide Anspruchsvarianten sind (Herstellungs )Verfahrensansprüche, daher liegt auch kein Kategoriewechsel vor.
Die Überlegungen, wie weit Patentansprüche des Typs „swiss claim“ zulässig (oder nötig) sind, spielen beim vorliegenden Patent keine Rolle, das dem Maschinenbau zuzuordnen ist und bei dem ein Kategoriewechsel von (reinen) Vorrichtungsansprüchen auf Verwendungsansprüche (Verfahrensansprüche) zu beurteilen ist. Schon allein deshalb ist die Entscheidung Op 1/13, auf die die Antragsgegnerin ihre Berufung mit Nachdruck aufbaut, nicht verallgemeinerungsfähig, weil bei dieser Entscheidung das ehemals geltende Stoffschutzverbot eine wesentliche Rolle spielte, dem für eine Brennerdüse aber die Relevanz fehlt.
6.5 Im Rahmen des konkreten Schutzbereichs steht dem Inhaber ein Unterlassungsanspruch gegen jeden Verletzer zu; die Bereiche des Schutzes und des Unterlassungsanspruchs sind deckungsgleich (abgesehen von hier nicht interessierenden Fragen der Wiederholungsgefahr etc). Der Schutzbereich eines Patents würde daher unter anderem immer dann vergrößert, wenn die Veränderung den Kreis der denkbaren Eingriffshandlungen vergrößern würde, das heißt wenn Handlungen, die ursprünglich nicht dem Unterlassungsanspruch des Inhabers unterliegen, durch die Änderung inkriminierbar würden.
6.6 Dies ist im vorliegenden Fall gegeben. Auf Grund der eingetragenen Fassung des Patents (deren Nichtigkeit im Berufungsverfahren nicht strittig ist) konnte die Antragsgegnerin niemandem untersagen, dass die Brennerdüse zum Versprühen reinen Sauerstoffs verwendet wird, weil das Patent kein Verfahrenspatent ist. Auf die Frage, ob diese Verwendung ihrerseits auf einer erfinderischen Tätigkeit beruht (hätte), kommt es auf der Basis des eingetragenen Patents nicht an, denn geschützt ist nicht die Verwendung der Brennerdüse zu einem bestimmten Zweck, sondern die Brennerdüse selbst. Allein im Versprühen von reinem Sauerstoff mit der Brennerdüse läge keine Patentverletzung.
Das Patent in der Fassung der Hilfsanträge gäbe der Antragsgegnerin aber einen Unterlassungsanspruch gegenüber jedem, der die Brennerdüse zum Versprühen reinen Sauerstoffs verwendet. Der Schutzbereich würde somit auch Bereiche umfassen, die außerhalb des bisherigen Schutzbereichs liegen. Dass dies den Schutzbereich nicht verkleinert, sondern ihn durch die Verschiebung erweitert, liegt nach Einschätzung des Berufungsgerichts auf der Hand.
7. Da die Hilfsanträge unzulässig sind, bedarf die Entscheidung des Patentamts keiner Korrektur. Die Neuheit eines Patents in der Fassung der Hilfsanträge sowie die Frage, ob es in dieser Fassung auf einer erfinderischen Tätigkeit beruhen würde, können unerörtert bleiben.
8. Die Kostenentscheidung beruht auf § 122 Abs 1 und § 141 PatG iVm § 41 Abs 1 und § 50 ZPO.
Dass die Änderung eines Patents den Schutzumfang nicht erweitern darf, entspricht der ständigen Rechtsprechung. Die Revision ist daher unzulässig.
Der Ausspruch über den Wert des Entscheidungsgegenstands nach § 500 Abs 2 Z 1 ZPO beruht auf der Bedeutung von Patentansprüche im Wirtschaftsleben.